来源:壹芯微 发布日期
2026-04-16 浏览:-壹芯微生产的5N65是一款在中高压、中小功率开关电源领域广泛应用的N沟道增强型高压功率MOSFET。它在650V的耐压等级下提供了5A的连续电流处理能力,并凭借其较低的导通电阻(典型值0.93-2.5Ω@10V)、快速的开关速度和良好的雪崩耐量,成为反激式开关电源、功率因数校正(PFC)电路、电机驱动和DC-DC转换器等应用中的高性价比开关器件。本文将深入解析其技术参数、典型应用电路及关键设计考量。
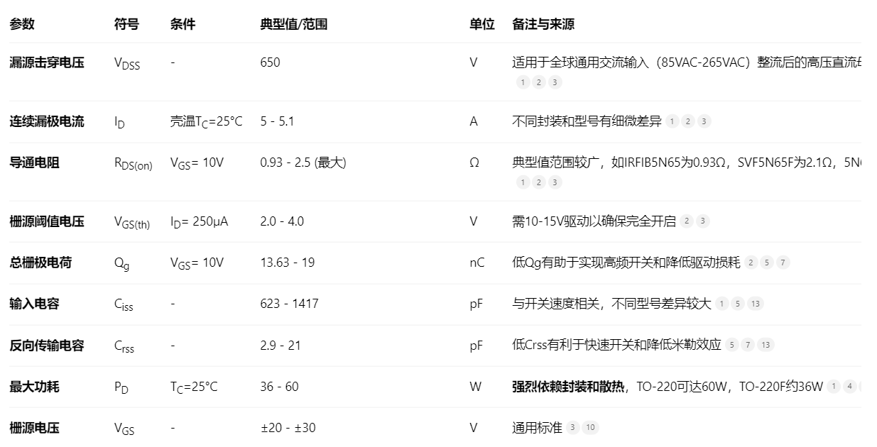
一、 5N65核心概览:参数、封装与特点
1. 关键电气参数(汇总)
壹芯微5N65是一个通用型号,主要规格范围如下:
参数解读:
高压与中小电流: 650V的耐压使其能够轻松应对全球通用交流输入(85VAC-265VAC)经整流滤波后的高压直流母线(约120V-375V),并留有充足裕量。5A的连续电流能力使其非常适合30W-80W级别的开关电源设计。
快速开关与低栅极电荷: 采用平面VDMOS或沟槽栅技术,具有低栅极电荷(Qg可低至13.63nC)和低反向传输电容(Crss可低至2.9pF),这有助于实现高频开关(几十kHz至百余kHz),从而减小变压器和滤波元件的体积,提升电源功率密度。
高可靠性特性: 多数型号通过了100%单脉冲雪崩能量测试,并具备提升的dv/dt能力,增强了在感性负载开关或雷击浪涌等异常情况下的鲁棒性。
多样化封装: 提供TO-220(带金属背板,散热好)、TO-220F/TO-220F1(全塑封,自带绝缘,无需绝缘垫片)、TO-252 (DPAK)、TO-263 (D²Pak)、TO-251等多种封装,满足不同的绝缘、散热和安装空间需求。
应用广泛: 数据手册明确其适用于AC-DC开关电源(SMPS)、DC-DC转换器、PWM电机控制、高效DC-DC转换器、桥接电路、LED驱动、家用电器、逆变器和UPS系统等。
二、 典型应用电路解析
1. 反激式(Flyback)开关电源(主开关管)
在30W-60W的手机充电器、小功率适配器、机顶盒电源等离线式开关电源中,5N65常作为初级侧的主开关管。
电路原理与工作过程:
交流输入经整流滤波后得到高压直流(HV DC Bus,约300-400V)。
5N65的漏极(D) 连接变压器初级绕组和HV Bus,源极(S) 通过一个小阻值采样电阻(如0.1-0.33Ω)接地,用于电流检测和过流保护。
PWM控制器(如UC384x、OB2263、AP8022系列)输出脉冲,通过栅极驱动电路控制5N65的开关。
工作阶段与设计要点:
导通阶段: 5N65导通,电能存储在变压器初级绕组中。
关断阶段: 5N65关断,变压器初级绕组产生的反电动势会形成很高的电压尖峰。必须在漏极和源极之间并联RCD吸收网络,以钳位电压尖峰,防止其超过650V的VDSS而击穿MOSFET。
驱动设计: 由于其阈值电压最高可达4V,为确保低导通电阻,栅极驱动电压推荐为12V-15V。驱动回路应短,并串联一个10-47Ω的栅极电阻以抑制振铃和调节开关速度。
2. 功率因数校正(PFC)升压电路(开关管)
在需要满足谐波标准(如IEC 61000-3-2)的50W以下电源中,5N65可用于临界导通模式(CrM)的PFC升压电路,作为主开关管。
电路原理:
5N65作为升压开关管,其源极(S) 接地,漏极(D) 连接升压电感和超快恢复二极管。
PFC控制器(如L6562、FAN7527)产生可变频率的PWM信号驱动5N65,使输入电流波形跟随输入电压波形,从而将功率因数提升至0.9以上。
3. LED恒流驱动电源
在30W-60W的LED球泡灯、筒灯、灯管驱动中,5N65可用于非隔离降压(Buck)或隔离式反激架构的初级侧开关。其高耐压和良好的开关特性有助于实现高功率因数、高效率和高可靠性。
4. 电机控制与桥式电路
在小型变频器、风扇调速器或电动工具中,5N65可用于构建半桥或全桥拓扑,进行PWM电机控制。其快速开关能力有助于实现高效的电机驱动。
三、 设计要点与注意事项
栅极驱动设计:
驱动电压与电流: 为确保5N65完全开启以发挥其低RDS(on)优势,必须提供12V-15V的驱动电压。其栅极电荷Qg约13-19nC,驱动芯片需能提供足够的峰值电流(通常需大于0.2A)以确保快速开关,降低开关损耗。
栅极保护: 栅源间必须并联10kΩ-100kΩ的泄放电阻,确保可靠关断。并联一个±15V~±18V的稳压管可有效防止ESD或电压振荡击穿栅氧化层。
散热设计至关重要:
功耗估算: 在反激电源中,损耗包括导通损耗(Pcond=IRMS² × RDS(on))和开关损耗。以50W电源、初级电流有效值0.3A、RDS(on)=2.0Ω计算,导通损耗约0.18W。加上开关损耗,总功耗可能超过0.5W。
散热措施: 对于TO-220封装,在密闭空间或环境温度较高时,建议加装小型铝制散热片。对于TO-220F或TO-252等表面贴装封装,需在PCB上设计大面积铺铜和密集的散热过孔阵列,将热量快速传导至整个板层。
PCB布局以抑制电压尖峰和EMI:
功率回路最小化: 输入电容、变压器初级、5N65构成的高频功率环路面积必须最小化,走线短而粗,以减小寄生电感,从而抑制开关瞬间产生的电压尖峰。
吸收电路与驱动走线: RCD吸收电路必须紧靠5N65的漏极和源极引脚。栅极驱动走线应远离高dv/dt的开关节点(如变压器引脚),防止噪声耦合导致误触发。
雪崩能量与可靠性: 5N65通常具有较高的抗雪崩能力,这增强了其在漏感能量释放等异常情况下的生存能力。但在设计时,仍应通过合理的变压器设计、吸收电路和缓冲网络来避免MOSFET长期工作在雪崩状态。
四、 选型参考
壹芯微5N65主要定位于650V耐压、5A电流等级的中小功率高压开关场景。选型时需重点关注导通电阻RDS(on)、栅极电荷Qg、封装热阻以及是否需通过雪崩测试。
总结
5N65以其650V高耐压、5A电流能力、适中的导通电阻以及良好的快速开关特性,成为30W-80W级离线式开关电源、小功率PFC电路和电机控制的经典选择。成功应用的关键在于:提供充足(12-15V)的栅极驱动电压,实施有效的RCD吸收电路以抑制漏感尖峰,并进行合理的散热设计与高频功率回路PCB布局。通过遵循这些设计准则,并选择合适的壹芯微5N65系列,5N65能够为您的AC-DC电源或电机驱动项目提供一个可靠、高效且极具成本优势的高压开关解决方案。
壹芯微科技专注于“二极管、三极管、MOS(场效应管)、桥堆”研发、生产与销售,23年行业经验,拥有先进全自动化双轨封装生产线、高速检测设备等,研发技术、芯片源自台湾,专业生产流程管理及工程团队,保障所生产每一批物料质量稳定和更长久的使用寿命,实现高度自动化生产,大幅降低人工成本,促进更好的性价比优势!选择壹芯微,还可为客户提供参数选型替代,送样测试,技术支持,售后服务等,如需了解更多详情或最新报价,欢迎咨询官网在线客服!
手机号/微信:13534146615
QQ:2881579535
工厂地址:安徽省六安市金寨产业园区
深圳办事处地址:深圳市福田区宝华大厦A1428
中山办事处地址:中山市古镇长安灯饰配件城C栋11卡
杭州办事处:杭州市西湖区文三西路118号杭州电子商务大厦6层B座
电话:13534146615
企业QQ:2881579535

深圳市壹芯微科技有限公司 版权所有 | 备案号:粤ICP备2020121154号